
明文:31323334353637383930616263646566(16个字节)KEY:31323334353637383930616263646566(16个字节)
加密方式
ecb模式:它将明文消息分成固定长度的块,然后独立地对每个块进行加密。将所有密文块连接起来,形成最终的密文。
cbc模式:通过将前一个密文块与当前明文块异或后再加密来增强安全性。第一组与iv异或加密后的值参与第二组异或。将所有密文块连接起来,形成最终的密文。
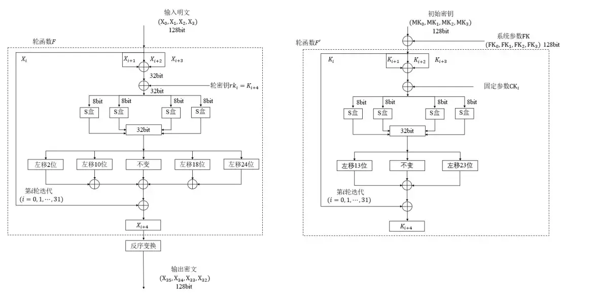
密钥编排
固定参数CK
1 | SM4_CK = [ |
S盒
1 | SM4_BOX = [ |
对密钥进行四字节分割
1 | MK0: 31323334 |
分别与FK进行异或
1 | SM4_FK = [0xa3b1bac6, 0x56aa3350, 0x677d9197, 0xb27022dc] |
异或结果k
1 | k0: 928389F2 |
密钥编排共32轮 生成 4 * 32 个字节的数组
第一轮 当 i = 0 时box_in = k1 ^ k2^ k3^ SM4_CK[i]即 box_in = 0x639C0468 ^ 0x5E4DF0F5 ^ 0xD11447BA ^ 0x70E15 = 0xECC2BD32
将 box_in 0xECC2BD32 拆分成四个单字节进行S盒的替换
box_out = SM4_BOX[0xEC] SM4_BOX[0xC2] SM4_BOX[0xBD] SM4_BOX[0x32] 即 box_out = C5 AF 6C 1C
得到轮密钥
key_r[i] = k0 ^ box_out ^ box_out左移13位 ^ box_out左移23位即 key_r[0] = 0x928389F2 ^ 0xC5AF6C1C ^ 0xED8398B5 ^ 0xE62D7B6 = 0xB4CDAAED
最后将k1赋值k0,k2赋值k1,k3赋值k2,key_r[i]赋值k3
即 k0 = k1 = 0x639C0468
k1 = k2 = 0x5E4DF0F5
k2 = k3 = 0xD11447BA
k3 = key_r[0] = 0xB4CDAAED
循环得到32个key_r
1 | key_r = ['0xB4CDAAED', |
密钥编排代码逻辑
1
2
3
4
5
6
7
8
9
10
11
12
13
14
15
16
17
18
19
20
21
22
23
24
25
26
27
28
29
30
31
32
33
34
35
36
37
38
39
40
41
42
43
44
45
46
47
48
49
50
51
52
53
54
55
56
57
58
59
60
61
62
63
64
65
66
67
68
69
70
71
72
73
74
75
76
77
78
79
80
81
82
83
84
85
86 SM4_FK = [0xa3b1bac6, 0x56aa3350, 0x677d9197, 0xb27022dc]
# CK
SM4_CK = [
0x00070e15, 0x1c232a31, 0x383f464d, 0x545b6269,
0x70777e85, 0x8c939aa1, 0xa8afb6bd, 0xc4cbd2d9,
0xe0e7eef5, 0xfc030a11, 0x181f262d, 0x343b4249,
0x50575e65, 0x6c737a81, 0x888f969d, 0xa4abb2b9,
0xc0c7ced5, 0xdce3eaf1, 0xf8ff060d, 0x141b2229,
0x30373e45, 0x4c535a61, 0x686f767d, 0x848b9299,
0xa0a7aeb5, 0xbcc3cad1, 0xd8dfe6ed, 0xf4fb0209,
0x10171e25, 0x2c333a41, 0x484f565d, 0x646b7279
]
# S盒
SM4_BOX = [
0xd6, 0x90, 0xe9, 0xfe, 0xcc, 0xe1, 0x3d, 0xb7, 0x16, 0xb6, 0x14, 0xc2, 0x28, 0xfb, 0x2c,
0x05, 0x2b, 0x67, 0x9a, 0x76, 0x2a, 0xbe, 0x04, 0xc3, 0xaa, 0x44, 0x13, 0x26, 0x49, 0x86,
0x06, 0x99, 0x9c, 0x42, 0x50, 0xf4, 0x91, 0xef, 0x98, 0x7a, 0x33, 0x54, 0x0b, 0x43, 0xed,
0xcf, 0xac, 0x62, 0xe4, 0xb3, 0x1c, 0xa9, 0xc9, 0x08, 0xe8, 0x95, 0x80, 0xdf, 0x94, 0xfa,
0x75, 0x8f, 0x3f, 0xa6, 0x47, 0x07, 0xa7, 0xfc, 0xf3, 0x73, 0x17, 0xba, 0x83, 0x59, 0x3c,
0x19, 0xe6, 0x85, 0x4f, 0xa8, 0x68, 0x6b, 0x81, 0xb2, 0x71, 0x64, 0xda, 0x8b, 0xf8, 0xeb,
0x0f, 0x4b, 0x70, 0x56, 0x9d, 0x35, 0x1e, 0x24, 0x0e, 0x5e, 0x63, 0x58, 0xd1, 0xa2, 0x25,
0x22, 0x7c, 0x3b, 0x01, 0x21, 0x78, 0x87, 0xd4, 0x00, 0x46, 0x57, 0x9f, 0xd3, 0x27, 0x52,
0x4c, 0x36, 0x02, 0xe7, 0xa0, 0xc4, 0xc8, 0x9e, 0xea, 0xbf, 0x8a, 0xd2, 0x40, 0xc7, 0x38,
0xb5, 0xa3, 0xf7, 0xf2, 0xce, 0xf9, 0x61, 0x15, 0xa1, 0xe0, 0xae, 0x5d, 0xa4, 0x9b, 0x34,
0x1a, 0x55, 0xad, 0x93, 0x32, 0x30, 0xf5, 0x8c, 0xb1, 0xe3, 0x1d, 0xf6, 0xe2, 0x2e, 0x82,
0x66, 0xca, 0x60, 0xc0, 0x29, 0x23, 0xab, 0x0d, 0x53, 0x4e, 0x6f, 0xd5, 0xdb, 0x37, 0x45,
0xde, 0xfd, 0x8e, 0x2f, 0x03, 0xff, 0x6a, 0x72, 0x6d, 0x6c, 0x5b, 0x51, 0x8d, 0x1b, 0xaf,
0x92, 0xbb, 0xdd, 0xbc, 0x7f, 0x11, 0xd9, 0x5c, 0x41, 0x1f, 0x10, 0x5a, 0xd8, 0x0a, 0xc1,
0x31, 0x88, 0xa5, 0xcd, 0x7b, 0xbd, 0x2d, 0x74, 0xd0, 0x12, 0xb8, 0xe5, 0xb4, 0xb0, 0x89,
0x69, 0x97, 0x4a, 0x0c, 0x96, 0x77, 0x7e, 0x65, 0xb9, 0xf1, 0x09, 0xc5, 0x6e, 0xc6, 0x84,
0x18, 0xf0, 0x7d, 0xec, 0x3a, 0xdc, 0x4d, 0x20, 0x79, 0xee, 0x5f, 0x3e, 0xd7, 0xcb, 0x39,
0x48,
]
class SM4(object):
def __init__(self):
self.key_r = [0] * 32
# 拼接四个单字节
def get_uint32_be(key_data):
return (key_data[0] << 24) | (key_data[1] << 16) | (key_data[2] << 8) | (key_data[3])
# 将四个字节拆分
def put_uint32_be(src):
return [(src >> 24) & 0xFF, (src >> 16) & 0xFF, (src >> 8) & 0xFF, src & 0xFF]
# 循环左移
def rotl(x, n):
return ((x << n) & 0xffffffff) | ((x >> (32 - n)) & 0xffffffff)
def _round_key(self, ka):
b = [0, 0, 0, 0]
a = self.put_uint32_be(ka)
b[0] = SM4_BOX[a[0]]
b[1] = SM4_BOX[a[1]]
b[2] = SM4_BOX[a[2]]
b[3] = SM4_BOX[a[3]]
box_out = self.get_uint32_be(b[0:4])
rk = box_out ^ (self.rotl(box_out, 13)) ^ (self.rotl(box_out, 23))
return rk
def key_generate(self, key):
key = self.bytes_to_list(key)
k = [0, 0, 0, 0]
k0 = self.get_uint32_be(key[0:4])
k1 = self.get_uint32_be(key[4:8])
k2 = self.get_uint32_be(key[8:12])
k3 = self.get_uint32_be(key[12:16])
k[0] = k0 ^ SM4_FK[0]
k[1] = k1 ^ SM4_FK[1]
k[2] = k2 ^ SM4_FK[2]
k[3] = k3 ^ SM4_FK[3]
for i in range(32):
box_in = k[1] ^ k[2] ^ k[3] ^ SM4_CK[i]
self.key_r[i] = k[0] ^ self._round_key(box_in)
k[0] = k[1]
k[1] = k[2]
k[2] = k[3]
k[3] = self.key_r[i]
明文处理
明文不满16字节及16字节倍数,需要填充至16字节的倍数,如果已经是16字节倍数则填充一组16字节
两种填充规则:
- PKCS7: 在明文末尾添加填充字节,填充字节的值等于填充的字节数。
例如明文是 31323334353637383930 长度为10字节,则在末尾添加6个值为0x06的字节,填充值16字节。 - ZERO: 在明文末尾添加填充0x0,填充字节的值等于填充的字节数。
例如明文是 31323334353637383930 长度为10字节,则在末尾添加6个值为0x00的字节,填充值16字节。
填充如果明文大于16字节,需要分组处理,每16字节一组
对明文 31323334353637383930616263646566 进行四字节分割
1 | x0: 31323334 |
明文处理共32轮 最终的 x3 x2 x1 x0 组成16字节密文
第一轮 当 i = 0 时
box_input = x1 ^ x2 ^ x3 ^ key_r[i]
即 box_input = 0x35363738 ^ 0x39306162 ^ 0x63646566 ^ 0xB4CDAAED = 0xDBAF99D1
将 box_input 0xDBAF99D1 拆分成四个单字节进行S盒的替换
box_out = SM4_BOX[0xDB] SM4_BOX[0xAF] SM4_BOX[0x99] SM4_BOX[0xD1]
即 box_out = 12 6F 93 C1
box_out 循环左移与明文异或
temp = x0 ^ box_out ^ box_out左移2位 ^ box_out左移10位 ^ box_out左移18位 ^ box_out左移24位
即 temp = 0x31323334 ^ 0x126F93C1 ^ 0x49BE4F04 ^ 0xBE4F0449 ^ 0x4F0449BE ^ 0xC1126F93 = 0x5ABACD95
最后将x1赋值x0,x2赋值x1,x3赋值x2,temp赋值x3
即 x0 = x1 = 0x35363738
x1 = x2 = 0x39306162
x2 = x3 = 0x63646566
x3 = temp = 0x5ABACD95
循环得到32轮后结果
x0 = 0x6E15AEA9
x1 = 0x1B3702C5
x2 = 0xE3A63336
x3 = 0x071F23E0
最终结果 x3 x2 x1 x0
output = x3 x2 x1 x0
即 out_put = 071F23E0 E3A63336 1B3702C5 6E15AEA9
加密逻辑
1 | PKCS7 = 0 |
SM4 CBC模式
上面实现的是ecb模式,cbc模式会在分组加密的时候与iv异或,异或后的结果替换明文参与加密。且每组加密完的结果会做为下一轮的iv参与异或。
明文:31323334353637383930616263646566(16个字节)
KEY:31323334353637383930616263646566(16个字节)
IV: 1234567890abcdef1234567890abcdef(16个字节)
明文和IV每个字节分别异或后拼接
明文: 0x31 0x32 0x33 0x34 0x35 0x36 0x37 0x38 0x39 0x30 0x61 0x62 0x63 0x64 0x65 0x66
IV: 0x12 0x34 0x56 0x78 0x90 0xab 0xcd 0xef 0x12 0x34 0x56 0x78 0x90 0xab 0xcd 0xef
结果: 23 06 65 4c a5 9d fa d7 2b 04 37 1a f3 cf a8 89
异或后的结果当成“明文”参与加密,其他流程跟ecb模式一样
代码逻辑
1 | def encrypt_cbc(self, iv, input_data): |
完整代码
1 | import copy |